全国客服热线:
13371051536
栏目导航
- 手持气象站
- 便携式气象站
- 车载气象站
- 气象监测设备
- 超声波气象站
- 防爆气象站
- 森林气象站
- 校园气象站
- 雪深监测站
- 输电线路微气象站
- 雷电预警系统
- 机场气象站
- 高精度风蚀自动气象站
- 海洋气象站
- 可升降避雷针
- 夜视仪
- 北斗环境监测站
- 光透过率检测仪
- 交通气象站
- 固定式雷达测速仪
- 结冰监测
- 降水天气现象仪
- 地质雷达探测仪
- 手持式雷达测速仪
- 光伏气象站
- 云高仪
- 全天空成像仪
- 太阳辐射检测仪
- 人工太阳模拟器
- 太阳光度计
- 光伏电站灰尘监测系统
- 组件el测试仪
- 便携式IV测试仪
- 电能质量检测仪
- 组串电源
- 负氧离子检测仪
- 负氧离子监测站
- 网格化空气质量监测站
- 扬尘在线监测系统
- 走航监测设备
- VOC在线监测系统
- 烟气分析仪
- 粉尘浓度测量仪
- 个体粉尘采样器
- 恶臭在线检测仪
- CEMS烟气在线监测系统
- 气体检测仪
- 在线尘埃粒子计数器
- 灭火机器人
联系我们
王经理:13371051536
邮 箱:1401548526@qq.com
公 司:山东风途物联网科技有限公司
地 址:山东省潍坊市高新区光电路155号光电产业加速器(一期)

防爆气象仪

一、防爆气象仪产品简介
山东风途物联网科技有限公司作为专业研发生产销售一体化防爆气象传感器的企业,一直致力于微型气象仪和气象环境解决方案推广应用。具有完整的生产链、实力雄厚的技术团队和全面的营销团队,我们研发生产的超声波防爆风速风向仪、防爆五要素微气象仪等气象产品,已广泛应用到化工厂、油库、隧道、矿井等领域,客户遍布全国各地,并取得了良好的社会效益和经济效益。
与传统的微型气象仪相比,我司产品克服了对高精度计时器的需求,避免了因传感器启动延时、解调电路延时、温度变化而造成的测量不准问题。
防爆气象仪创新性地将风速、风向、温度、湿度、大气压力通过一个高集成度结构来实现,可实现户外气象参数24小时连续在线监测,通过数字量通讯接口将五项参数一次性输出给用户。
二、防爆气象仪产品特点
1、顶盖隐藏式超声波探头,避免雨雪堆积的干扰,避免自然风遮挡(实用新型专利,专利号ZL 2020 2 3215713.X)☆
2、原理为发射连续变频超声波信号,通过测量相对相位来检测风速风向(发明专利,专利号ZL 2021 1 0237536.5)☆
3、风速、风向、温度、湿度、大气压力五要素一体式(实用新型专利,专利号ZL 2020 2 3215649.5)☆
4、采用先进的传感技术,实时测量,无启动风速☆
5、抗干扰能力强,具有看门狗电路,自动复位功能,保证系统稳定运行
6、高集成度,无移动部件,零磨损
7、免维护,无需现场校准
8、采用ASA工程塑料室外应用常年不变色
9、产品设计输出信号标配为RS485通讯接口(MODBUS协议);可选配232、USB、以太网接口,支持数据实时读取☆
10、可选配无线传输???,最小传输间隔1分钟
11、探头为卡扣式设计,解决了运输、安装过程松动不准的问题☆
三、防爆气象仪技术参数
1、风速:测量原理超声波,0~60m/s(±0.1m/s)分辨率0.01m/s;(发明专利,专利号ZL 2021 1 0237536.5)
2、风向:测量原理超声波,0~360°(±2°);分辨率:1°;(发明专利,专利号ZL 2021 1 0237536.5)
3、空气温度:测量原理二极管结电压法,-40-60℃(±0.3℃),分辨率0.01℃;(北京市气象局校准证书)
4、空气湿度:测量原理电容式,0-100%RH(±3%RH),分辨率:0.1%RH;(北京市气象局校准证书)
5、大气压力:测量原理压阻式,300-1100hpa(±0.25%),分辨率0.1hpa;(北京市气象局校准证书)
6、生产企业具有ISO质量管理体系、环境管理体系和职业健康管理体系认证☆
7、生产企业具有计算机软件注册证书☆
8、生产企业为3A级信用企业☆
9、生产企业具有Ex ia IIC T6 Ga高等级防爆证书☆
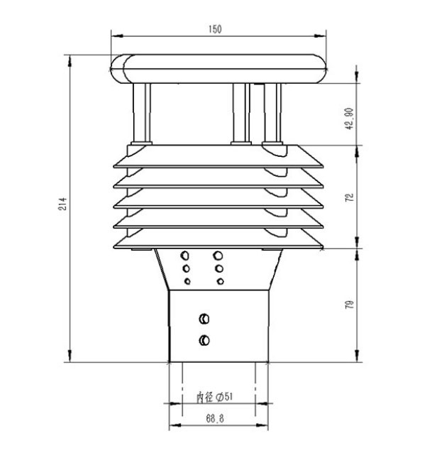
四、防爆气象仪产品尺寸图

五、防爆气象仪产品结构图

1、控制电路
2、指北箭头
3、超声波探头
4、百叶箱
5、温度、湿度、气压监测位置
6、底部固定法兰
※此产品可选配电子罗盘、GPRS(内置)/GPS(二选一)
六、防爆气象仪产品接线定义

VCC:棕色,GND:黑色,485A:绿色,485B:蓝色
七、防爆气象仪法兰盘固定方式

1、微气象仪
2、固定螺钉
3、通信电缆+航插
八、防爆气象仪法兰盘尺寸

更新时间:2026-02-16
- 上一篇:没有了!
- 下一篇:防爆型气象站



热门搜索:


